技术领域
本实用新型涉及一种采用IC卡智能识别系统控制信箱门的开合的智能信报箱。
技术背景
目前人们使用的信报箱一般都是采用普通的机械锁或者机械式密码锁开关信报箱的门。由于很多机械式锁都容易被不法分子撬开,造成信报箱的防盗性能不好。而且,随着现在小区管理的数字化、智能化程度的提高,机械锁式的信报箱也已经不再适应小区智能系统管理的需要。
实用新型内容
本实用新型的目的是:针对现有技术的不足,提供一种结构简单、使用方便、自动化程度高的IC卡式智能信报箱。
为了解决上述技术问题,本实用新型所采取的技术方案是:一种智能信报箱,包括信箱本体,所述信箱本体上设置有若干信箱,还包括IC卡智能感应系统,所述IC卡智能感应系统包括IC卡感应器、信号处理器和若干信箱门锁,所述信箱门锁分布在各个信箱的门上,所述IC卡感应器接收来自IC卡的数据信息,并发送到信号处理器中所述信号处理器根据IC卡的数据信息,输出信箱门锁开信号至信箱门锁以打开指定的信箱门锁。
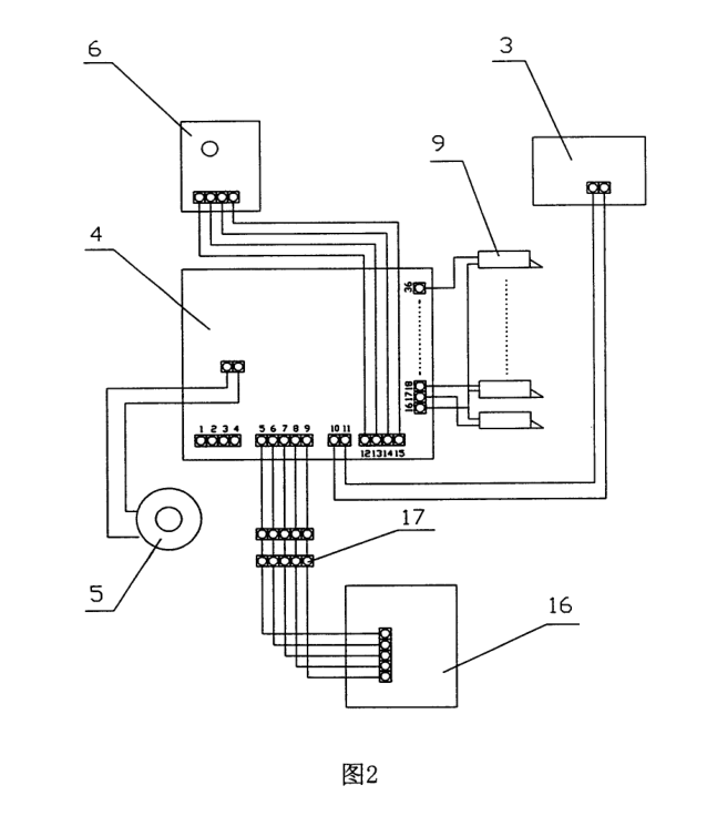
所述IC卡智能感应系统还可以包括电源模块、信号转换器和扬声器,所述电源模块为信号处理器提供直流12V电源,所述信号转换器连接信号处理器,并通过其输出端口连接电脑,所述扬声器与信号处理器连接所述信号处理器可以采用型号为 ATFIC03-01的门禁考勤机系统所述信号处理器的5~9脚为485通讯接口,并通过软编程接口与信号转换器连接,其10~11脚为电源输入端,其12~13脚为感应器信号端,其14~15脚为感应器电源输入端,其16脚为信箱门锁开信号的低电平信号输出端,其17~36脚为信箱门锁开信号的高电平输出端。
所述信号转换器可以为RS485通讯协议与RS232通讯协议之间相互转换的转换器。
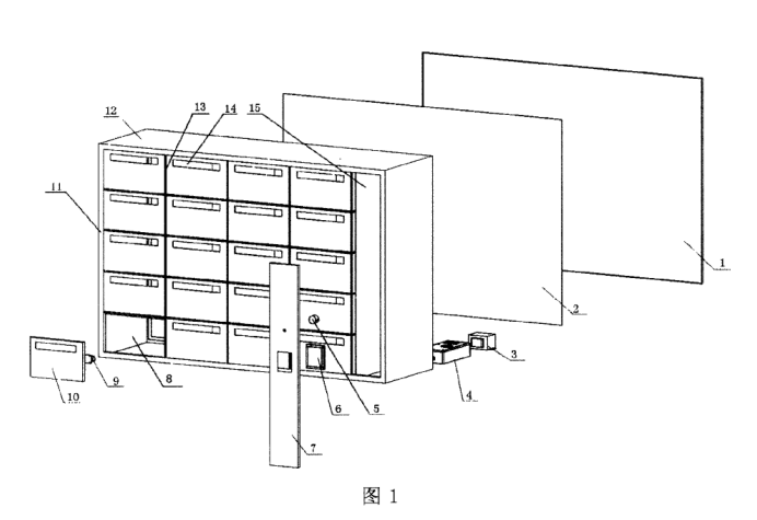
所述信箱本体可以由周边板、背板和若干隔板构成,所述周边板和背板构成一方形框体,所述隔板横向和竖向交叉设置于所述框体内所述信箱即由隔板分隔框体内部空间所成。
所述信箱本体的右侧内可以由竖向隔板沿信箱本体的高度方向间隔出一区域,所述信箱本体的前表面对应于该区域处设置有一控制面板,所述信号处理器和电源模块固装于该区域内,所述扬声器和IC感应器固装于控制面板上。
所述信箱的门可以与信箱侧面的隔板枢接,所述门板上开设有投所述信箱周边板与背板之间可以设置有中背板。
所述信箱门锁可以为电磁锁。
在上述技术方案中,本实用新型由于采用在信箱本体内设置IC卡智能感应系统,以根据用户IC卡所带的信息,控制相应的信箱门上的电磁锁的打开状态,因此,相对现有技术,本实用新型具有结构简单、智能化程度高、一户一卡使安全性能好、可便于与小区智能系统集成,且开锁时具有声音提示,便于用户使用等特点。
附图说明
附图1为本实用新型智能信报箱的立体分解结构示意图;
附图2为本实用新型智能信报箱的电路原理图。

