2017
20th
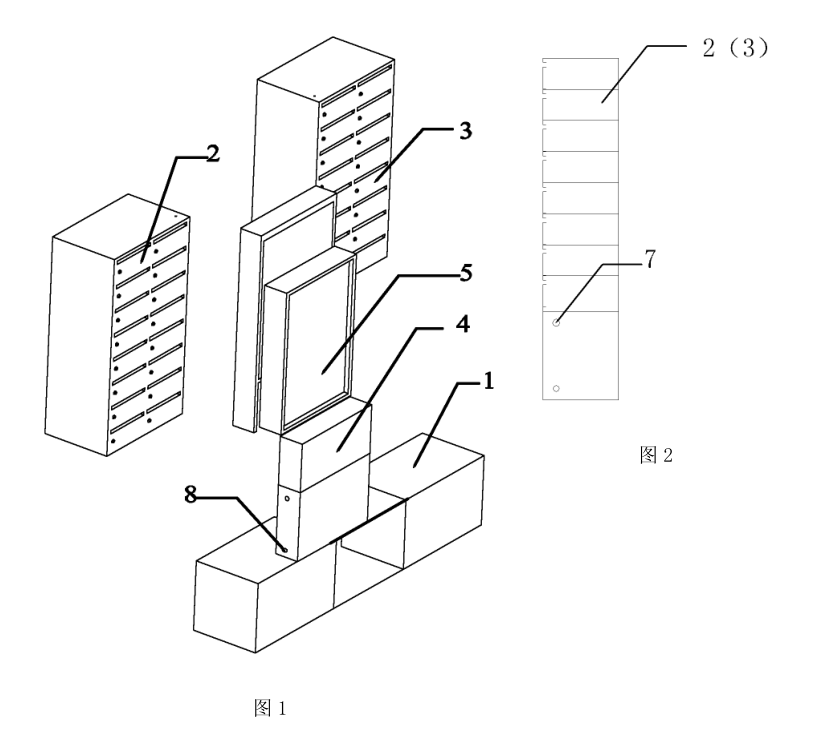
本发明涉及物品存取自助服务技术领域,尤其是一种基于物联网技术的 智能信包箱 。 当前,在物品存取自助服务技术领域, 信报箱 作为居民接收邮件和各类账单的载体,广泛用于居民小区及写字楼,成为居民生活不可或缺的一...
2016
22th
近日,UPS宣布,在全美300处公共场所投放智能快件箱。这些智能快件箱将被放置在便利店等便于收件人使用的公共场所,为收件人提供7X24小时不间断服务。普及程度不断提高,相比国内消费者,美国消费者对智能快件箱持何种态度...
2012
14th
技术领域 本申请涉及 信报箱 技术领域,特别是涉及一种 多功能信报箱 。 背景技术 目前现有的信报箱通常为多个相互重叠放置的设置有投递孔的格子组成,在每个格子上均设置有编号,这样投递员在投递时,就可以将信件或报纸...
2012
30th
技术领域 本实用新型涉及合页领域,尤其涉及一种隐藏式铰链及其安装这种隐藏式铰链的带门的 箱体 。 背景技术 合页是家具铜饰件,俗称铰链。常组成两折式,是连接家具两个部分并能使之活动的金属件。合页:一种用于连接...