单警装备柜 是一种专门为警察和执法人员设计的个人物品存储柜。它用于存放和管理警员在执勤期间所需的装备和个人物品,如警服、防弹背心、警棍、...
设备智能管理柜 是一种智能化的设备管理系统,主要用于管理和存储各种设备,包括但不限于电子设备、工具、零件等。它通常由一个智能控制器、多个...
人脸识别储物柜 是一种采用人脸识别技术实现存取控制的智能化储物柜。它通过摄像头采集用户的面部图像信息,将图像与预先存储的面部特征数据进行...
如何确定智能柜生产厂家可以直接参考某公司采购 智能柜 的评审方法, 从 最终报价、 技术、产品成熟度、样品、企业实力和售后服务承诺等方面综合打...
矿灯充电柜解决方案哪家好,可先看下 速易宝矿灯充电柜解决方案优点 采用IC(M1型)卡开门,比市面上常见的ID卡方案安全性更高,能兼容企业内主流的一...
智能快递柜快件箱解决的不仅是“ 最后一公里 ”配送的瓶颈问题,更是由线下流量转为线上流量,并与用户发生更密切关系的移动互联网端口。基于此,...
在城市中两轮电动车便于出行,但确实也存在着电池续航不给力、充电不方便、充电不安全等诸多痛点。近年来,不少商圈和⼩区内出现了 两轮电动车换...
来自河南商丘的网民“平安福”(手机尾号1439)说: 智能快递柜 、无人配送车等“无接触物流”模式迅速发展,请问未来是否会大范围推广? 邮政局回...
2004
06th
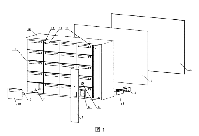
技术领域 本实用新型涉及一种采用IC卡智能识别系统控制信箱门的开合的 智能信报箱 。 技术背景 目前人们使用的信报箱一般都是采用普通的机械锁或者机械式密码锁开关信报箱的门。由于很多机械式锁都容易被不法分子撬开,造...
2015
03th
技术领域 本发明涉及嵌入式技术领域,更具体地说,涉及一种智能收物件的方法、用于收快递的 信报箱 及系统。 背景技术 随着信息技术的发展和电子商务的繁荣,整个物联网行业发展保持着高速的增长态势,而物联网行业末端...